접이식 거치 장치(Foldable Mounting Device)

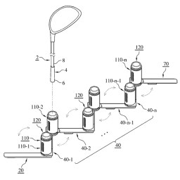
골프채 외 막대기 형상의 제품 내지 상품들을 편하게 거치하고 추후 거치대를 쉽게 철거할 수 있는 ZigZag 원리응용 접이식 스탠드.  제품 거치부 높낮이 조절 가능. 복 수 개 장치들의 연접 배치 가능. 단독 장치 또는 연접 장치들을 선형, 환형, 반원형, 삼각형, 사각형 등 다양한 형상으로 배치할 수 있다. 플라스틱 사출 제작을 상정함. 특허 등록 : 2019년 … 접이식 거치 장치(Foldable Mounting Device) 더보기