컨텐츠로 건너뛰기

The Creative Experts Group, Invensis

융합 IOT 중심 창의적 R&D 전문가 그룹, 인벤시스

  • HOME
  • COMPANY
  • SOLUTIONS
  • R&D CASES
  • EXPERTS GROUP
  • IDEA & PAPER
  • CONTACT US

[월:] 2025 5월

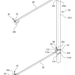
건물 일체형 태양광 발전 시스템용 리프팅 작업 장치 (Lifting Work Appratus For Building-Integrated Phtovoltaic System)
작성일자 2025년 5월 22일2026년 5월 9일

건물 일체형 태양광 발전 시스템용 리프팅 작업 장치 (Lifting Work Appratus For Building-Integrated Phtovoltaic System)

건물부착형태양광(BiPV) 솔라 패널의 탈/부착 아이디어. 특수 락킹 장치 및 전용 로봇 시스템으로 구성. 건물 일체형 태양광 발전 시스템용 리프팅 작업 장치 (Lifting Work Appratus For Building-Integrated Phtovoltaic System) 더보기

건물 외벽용 탈착형 태양전지 (Detachable Solar Cell For Exterior Wall Of Building)
작성일자 2025년 5월 11일2026년 5월 9일

건물 외벽용 탈착형 태양전지 (Detachable Solar Cell For Exterior Wall Of Building)

건물부착형태양광(BiPV) 솔라 패널이 부착되는 수직 강재에 상승/하강 메커니즘을 병합. (작은 볼트의 회전 운동을 수직 운동으로 변환) 건물 외벽용 탈착형 태양전지 (Detachable Solar Cell For Exterior Wall Of Building) 더보기

태양광 모듈의 진단 장치 (Diagnostic Apparatus For Solar Modules)
작성일자 2025년 5월 11일2026년 5월 9일

태양광 모듈의 진단 장치 (Diagnostic Apparatus For Solar Modules)

BiPV 솔라 패널 이면 배치 TAG 장치와 연동하여, 솔라 패널 및 계통의 운용 상태를 모니터링하는 1식 포터블 시스템. 로컬 관리 시스템 및 통합 서버 시스템 포함. 태양광 모듈의 진단 장치 (Diagnostic Apparatus For Solar Modules) 더보기

태양광 모듈의 냉각 장치 (Apparatus For Cooling Solar Modules)
작성일자 2025년 5월 11일2026년 2월 24일

태양광 모듈의 냉각 장치 (Apparatus For Cooling Solar Modules)

BiPV용 솔라 패널에 적용되는 초박막형 쿨링 시스템. NO 베어링, NO Fan 구조 특허 등록 : 2025년 12월, (처분권자 : (주)한라태양에너지 외 2인) 특허 출원 : 2025년 5월 + 우선 심사 진행 고안 일자 : 2024.11.01 태양광 모듈의 냉각 장치 (Apparatus For Cooling Solar Modules) 더보기

건물 일체형 태양광 발전 시스템 (Building-Integrated Photovoltaic System)
작성일자 2025년 5월 6일2026년 2월 24일

건물 일체형 태양광 발전 시스템 (Building-Integrated Photovoltaic System)

BiPV용 솔라 패널의 자유로운 분리와 결합. 전용 KEY 포함. 건물 일체형 태양광 발전 시스템 (Building-Integrated Photovoltaic System) 더보기

메뉴

  • HOME
  • COMPANY
  • SOLUTIONS
  • R&D CASES
  • EXPERTS GROUP
  • IDEA & PAPER
  • CONTACT US
  • 트위터
  • 페이스북
  • Google+
  • GitHub
  • 워드프레스닷컴

사이트 검색

IDEA & PAPER 포스트 목록

  • 2026년 5월
  • 2026년 2월
  • 2025년 6월
  • 2025년 5월
  • 2022년 1월
  • 2020년 7월
  • 2020년 4월
  • 2019년 12월
  • 2018년 11월
  • 2018년 10월
  • 2018년 9월
  • 2017년 9월
  • 2017년 8월
  • 2017년 7월

카테고리

  • 미분류
  • IDEA NOTES
워드프레스닷컴에서 웹사이트 또는 블로그 만들기 (WordPress.com 제작).
  • 구독 구독함
    • The Creative Experts Group, Invensis
    • 이미 WordPress.com 계정을 가지고 계신가요? 바로 로그인하세요.
    • The Creative Experts Group, Invensis
    • 구독 구독함
    • 가입
    • 로그인
    • 이 콘텐츠 신고하기
    • 리더에서 사이트 보기
    • 구독 관리
    • 이 표시줄 접기